发布时间:2019-10-16 10:53 | 标签:
索尼 AR眼镜 Audica
微信扫一扫:分享

微信里点“发现”,扫一下
二维码便可将本文分享至朋友圈
看日报是个好习惯。
重量仅40g,日本视网膜投影AR眼镜RETISSA Display II发售,售价1.6万元起
【VR陀螺 编译】10月15日消息,日本半导体激光器研发、制造和销售公司QD Laser对外宣布,视网膜投影AR眼镜RETISSA Display II于今日开启预购,企业版售价248000日元(约16212元人民币),消费者版售价272800日元(约17834元人民币),计划于2020年2月底发货。

“RETISSA Display II”眼镜使用该公司的激光视网膜扫描技术“VISIRIUM”,是2018年12月发布的“ RETISSA Display”的新版本。该系统将超紧凑型投影仪内置在眼镜框内,通过将光直接传递到视网膜来观看图像。此方法受眼睛晶状体状态的影响较小,因此无论视力或焦点位置如何都可以看到它。

由于提高了分辨率,该产品与以前的型号相比,可以看清楚比之前小一半字号的文字,并且体积更小、更轻。另外,眼镜上搭载了用于充电的USB接口和音频输出接口,并且可以在左右眼任意切换投影位置(以前的型号仅限右眼或左眼单眼版本)。

该产品将于10月15日在幕张展览馆举行的CEATEC 2019上展出,并于11月1日在东京都墨田区的墨田相业会馆举行的Site World 2019上展出。(来源:官宣)
产品详细信息:
产品名称:RETISSA Display II
投影方式:激光视网膜投影(第二代)
光源:RGB激光
视角/宽高比:水平26度/ 16:9
颜色再现性:256位
投影分辨率:等效720P(1,280 x 720)@ 60Hz
亮度:光输出小于0.39μW
视频输入:HDMI Type A
支持的输入分辨率:1,920×1,080 60p / 1,280×720 60p / 720×480 60p / 640×480 60p
音频输出:3.5毫米立体声迷你插孔
电源输入:DC5V(USB micro-B接口)
输出功率:DC5V(USB Type-A接口)
电池容量:3,880mAh
运行时间:约200分钟(无外部负载)/约130分钟(通电)
外形尺寸(宽x高x深)
・眼镜本体:65×20×83.5mm(不包括最突出部分)
・控制器:74×29.25×150mm(不包括最突出部分)
重量:
・眼镜部分:约40g
・控制器部分:约260g
如何购买:
・公司:通过电子邮件联系
・个人:ascii-store购买
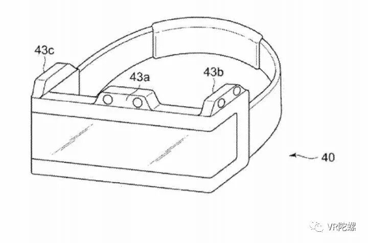
索尼AR头显专利曝光:配备三组摄像头,可连接PS游戏主机
【编译/VR陀螺】近日,索尼宣布PS5将于2020年底发售,此外PSVR 2专利的曝光也吸引了许多人的眼球,而除了PSVR外,索尼的另一项专利也展示了这家跨国科技巨头的奇思妙想。索尼的一款AR专利也被曝光,该专利是一款头戴式显示器(HMD),上面配备了多组180度相机。

2019年7月11日,日本专利局批准了这款AR专利。因此,所有文件细节都是日文的,以下是收集的一些信息。
专利中最引人注目的是头显上的三对摄像头(左边位置一对,右边位置一对,中间位置一对),用于记录3D图像,为用户提供精确的环境深度数据。

多相机可以记录足够的位置信息,提升数字对象的沉浸感,进而带来真正的AR体验。
外媒Let Go Digital注意到,这些摄像头还包括一个“引导图像”的功能,可以向用户假设一个特定位置,然后相机就可以正确地成像,提供一个精确的深度图,例如大型家具或楼梯。
当然,如果没有PlayStation的影子,索尼的专利又有什么意义呢?AR头显将具有无线连接功能,可以通过键盘或手柄分别连接到电脑或游戏机上。因此,从理论上讲,你最喜欢的PlayStation中的游戏角色可以在你的客厅里跑来跑去,而不再局限在电视或PlayStation VR屏幕上播放。
这款设备还可以与手机或平板电脑一起使用,用于体验新款AR游戏。进一步的连接功能包括USB和HMDI。
虽然这种设计可能还有很长一段路要走(或者永远不会实现),但索尼现在就有一个AR体验,在10月12日到12月8日,日本东京银座索尼公园将推出《捉鬼敢死队》的大型AR体验活动,以庆祝《捉鬼敢死队》推出35周年。(来源:vrfocus)
VR节奏音游《Audica》将于11月5日登陆PSVR
【编译/VR陀螺】Harmonix最新的VR音乐游戏《Audica》在今年3月份已登陆Steam,这家资深音乐游戏工作室也是《Guitar Hero》系列开发商。上周末索尼宣布,《Audica》这款独特的与射击结合的节奏游戏将在11月5日正式上架PSVR。

据称,《Audica》包括四个竞技场,各种各样的武器,一套自定义选项用于个性化的游戏体验,以及一份包含30多首游戏歌曲的原声带。

在游戏上架Steam和Oculus商店(售价20美元)之前,我们曾深入了解它的EA版本。随后,工作室又在原声带中加入了越来越多的歌曲。(来源:roadtovr)
法国MeshroomVR获150万欧元融资,推VR 3D建模编辑工具
【VR陀螺 编译】10月15日消息,法国3D建模编辑软件公司MeshroomVR对外宣布获得150万欧元(约1169万元人民币)融资。

MeshroomVR于2017年成立,主要提供3D数据可视化建模工具——MESHROOMSTUDIO,据介绍使用该工具只需拖放文件即可生成3D模型,并且可以更改目标的角度和大小,并通过直观的操作来编辑色相、纹理和背景。支持所有主要文件格式,例如FBX和3DXML。

据该公司称,该工具已“针对工业设计审查进行了优化”,这对于实时审查产品设计,将设计发布给利益相关者以及在各个设计阶段与客户共享设计很有用。
此外,产品阵容中的MESHROOMPRO / MESHROOMVR都可以使用VR环境中,在VR空间中查看3D CG,并且可以使用控制器进行编辑。(参考:MeshroomVR)

第一时间了解XR资讯
关注VR陀螺官网(vrtuoluo.cn)
投稿/爆料:tougao@youxituoluo.com
稿件/商务合作: 林南(微信 19250561593) 六六(微信 13138755620)
加入行业交流群:林南(微信 19250561593)