发布时间:2019-12-17 15:50 | 标签:
VR HTC AR Magic Leap Google Earth Taqtile Apple
微信扫一扫:分享

微信里点“发现”,扫一下
二维码便可将本文分享至朋友圈
Google Earth已拍摄超1609万公里地球全景街景
据CNET消息,Google Earth目前已经拍摄了超过1000万英里(约1609.334万公里)的地球街景。此外,Google Earth的航空地图服务包含了3600万平方英里的卫星图像。谷歌已经绘制出世界上98%的人居住的地方。

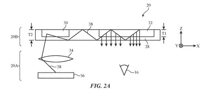
苹果全息成像技术专利,可帮助减轻AR头显重量
据外媒报道,最新曝光的专利文件显示,苹果公司正致力于研究光波导和全息图像传输技术,以便帮助减轻未来的增强现实(AR)或虚拟现实(VR)头显体积和重量。
苹果在专利申请文件显示,常见的VR头显依赖于放置在距离用户眼睛很近的显示器,外加多个镜头。虽然这导致头显的生产成本相对低廉,但也带来了许多问题。“近眼显示器产生的部分视场可能无法从单眼位置看到”。由于其远离面部的佩戴位置迫使其他组件和外壳也要被放置在距离用户脸部更远的地方,这可能会对面部带来更多压力。如果显示器可以放在更近的位置,并且使用更少或更轻的组件,则头显佩戴起来可能会更舒适。
在这份名为“用于显示器的光学系统”的专利文件中,苹果提出使用波导系统将光线从光学系统传输到用户的眼睛中。波导取代了显示器,并用于通过重定向的光线将图像投射到用户的眼睛中。

专利中描述了显示单元发出的光如何通过波导并反射到用户的眼睛上
为了辅助波导系统,苹果提议使用输入和输出耦合器,其中输入耦合器将光线从显示单元重定向到波导中,而输出耦合器则将光线推向眼睛的方向。这些生成的图像可以由全息光学元件形成,包括薄全息图、体积全息图和表面浮雕光栅。
苹果的设计还可以帮助将“用户视野之外的光线”重新定向或重新分配到用户的眼睛上,方法是使用位于显示单元和输入耦合器之间的光重定向元件。
该系统可以使用两个波导(即每个眼睛一个),或两个输入和输出耦合器,再加上一个带有全息元件的波导,用于将光重新定向到正确的眼睛里。在这种情况下,光重定向元件也可以使用与输出耦合器的干涉模式不平行的干涉模式,这有助于防止为一只眼睛准备的光被另一只眼睛偶然看到。
关于苹果研发某种形式的AR或VR头显或智能眼镜的传言已经流传了很长时间。许多专利文件显示,该公司热衷于开发这一概念。
在9月份名为“显示设备”的苹果专利申请中,苹果曾提及由波导和全息元件组成的系统,其中AR头显中使用“反射式全息组合器”来将数字元素与真实世界视图结合起来。
苹果对波导技术似乎特别感兴趣,其工程师和关键人员在2019年CES展会上参观了AR波导供应商的展台,这些公司包括DigiLens、Lumus、Vuzix和WaveOptics等。苹果还在2018年收购了AR头显镜头生产商Akoni Holographics,并在2017年收购了AR头显创企Vrvana。
关于被称为“Apple Glasses”的智能眼镜传闻暗示,苹果致力于推出一款内部称为“T288”的AR设备,它运行该公司开发的rOS操作系统,采用8K显示器。有传言称,单独的处理单元会将虚拟图像覆盖在用户视觉中存在的现实世界对象上。
HTC证实裁员,确保VR/AR与手机事业发展
近日,台媒中时电子报称HTC将在进行裁员节流。而今日,HTC证实此事,并表示一切符合劳基法,遭裁员工年终两个月也会给满,不过HTC没有公布裁员比例或人数,不过以HTC今年以来的营收多在10亿元以下、今年还是会亏一个股本来说,裁员不会仅限于台湾,而是全球性、全面的裁员。有消息指出,目前HTC员工人数共有3000多人,这次裁员是视业务需求调整,而遭裁的员工仍然可以领满2个月的年终奖金。

HTC表示,HTC持续进行产品组合与服务上的创新,同时也在行动通讯、VR与区块链等产业立下新的标准,如Vive Cosmos 与区块链手机Exodus 1s 在各自的领域中都是最尖端的产品,HTC接下来也会有更多令人期待的产品问市,目前营运上的变革是为了确保VIVE与手机事业在未来有更好的发展。
七部委发文:推进社会服务资源数字化,发展虚拟博物馆
近日,国家发展改革委、文化和旅游部、教育部、民政部、商务部、卫生健康委、体育总局联合发布《关于促进“互联网+社会服务”发展的意见》(以下称《意见》)。

《意见》指出,为满足人民群众多层次多样化需求,依靠多元化主体提供服务的活动,认真落实党中央、国务院决策部署,推动“互联网+社会服务”发展,促进社会服务数字化、网络化、智能化、多元化、协同化,更好惠及人民群众,助力新动能成长。推进社会服务资源数字化,激发“互联网+”对优质服务生产要素的倍增效应。鼓励发展数字图书馆、数字文化馆、虚拟博物馆、虚拟体育场馆等。加大社会服务领域数据共享开放力度,提升数据资源利用效率。建设完善国家数据共享交换平台体系,加强跨部门政务数据共享。
《意见》指出,鼓励新技术创新应用,培育壮大社会服务新产品新产业新业态。支持引导新型穿戴设备、智能终端、服务机器人、在线服务平台、虚拟现实、增强现实、混合现实等产品和服务研发,丰富线上线下相融合的消费体验。深入推进“互联网+中华文明”行动计划。(《意见》全文,请点击下方阅读原文)
Magic Leap 2发力B端市场,官方发布时间将为2021年
Magic Leap的下一代AR头显Magic Leap 2正式定于2021年发布。公司创始人兼首席执行官Rony Abovitz在《福布斯》的采访中表示,ML2主要受众将是企业和早期生产性消费者,并且他称ML2是“一个配备了传感器和先进的光学器件的关键的新平台。”
Abovitz在接受《福布斯》采访时说,其下一代头显现在正处于最后的构建阶段,尽管他没有细节地讨论ML2即将推出的功能,只是说该公司计划与客户在2020年合作完善Magic Leap 2,但是具体怎么做,他并没有透露。
为了进一步定位自己为企业解决方案,Magic Leap现在取消了Magic Leap One Creator Edition名称,将其简单地替换为“ Magic Leap 1”。

改名后的基本价格依旧为2300美元,并且与2018年8月发布的Creator Edition在外观上看起来没有任何区别。但是,现在该公司明显试图吸引企业用户,因为它最近更新的网站将专业案例放在了最前和中心位置,这与该公司自成立以来采取的准消费者模式产生了明显变化。之前的模式是把游戏、音乐应用程序和体验作为该平台的最大亮点展示。
该公司还组合了一套Magic Leap 1“企业套餐”,价格为3000美元,其中包括对该公司新发布的Device Manager软件的两年访问权、企业支持、有限保修和快速更换计划。
这些可能是对《The Information》杂志最近发表的一项报告的回应。该报告称该公司在发布第一代后的头六个月内仅售出了6000台Magic Leap 1头显。
该报告也透露,Magic Leap 2将有5G技术,更宽的视野,更小更轻的外形以及不同的颜色选项。同时,第二次可能会受到“基本技术约束”的阻碍,因此也可能更新硬件。然而最重要的是,Magic Leap否认了该报告,称该报告“乱七八糟”。
无论Magic Leap 2采取何种形式,都有一点可以肯定:该公司不再以作为消费类设备为目标,同时将锁定商业型设备提供商的市场,以及将与微软HoloLens平台正面激烈竞争。它的发布日期2021年也是之前报道中苹果可能发布它们第一款AR设备的时间范围。但是这两个时间是否有关系我们尚且不能下定论,但是,至少对于AR来说,喧闹的20年代将是非常有趣的十年。
AR创企Taqtile完成300万美元融资,与Magic Leap达成合作伙伴协议
日前,西雅图AR创企公司Taqtile宣布完成300万美元融资,本次融资由博德马克资本(Broadmark Capital)及其附属机构领投,此次融资也是Taqtile的第一轮股权交易。此外,该公司表示其于Magic Leap已达成合作伙伴关系。

一名员工使用Taqtile Manifest软件在Magic Leap中学习飞机起落架的维修程序
Taqile是一家35人的AR软件开发公司,主要业务是基于AR头显和手机移动端,设计B端工业领域的应用。以帮助用户进行技术培训、技术交流等,通过减少工作所需的时间,来提高效率,同时降低错误率。
与MagicLeap合作对于Taqile的一个重要里程碑,随着Magic Leap将战略布局调整至B端企业向,其对于B端向的方案提供商也提供了一个推广的平台,Taqile的Manifest解决方案将获得Magic Leap的推广支持。
第一时间了解XR资讯
关注VR陀螺官网(vrtuoluo.cn)
投稿/爆料:tougao@youxituoluo.com
稿件/商务合作: 林南(微信 19250561593) 六六(微信 13138755620)
加入行业交流群:林南(微信 19250561593)